Máy thủy bình tự động là một cuộc cách mạng trong lĩnh vực trắc địa và xây dựng, đưa tốc độ và độ chính xác lên một tầm cao mới so với các loại máy thủy bình quang học thủ công. Với cơ chế tự động bù trừ sai số trục ngắm, máy thủy bình tự động đã trở thành công cụ không thể thiếu trong các công trình từ dân dụng đến cơ sở hạ tầng quy mô lớn. Tuy nhiên, dù là thiết bị “tự động”, kết quả đo đạc cuối cùng vẫn phụ thuộc rất nhiều vào kỹ năng vận hành và việc áp dụng đúng các phương pháp đo đạc.
Nắm vững cách sử dụng máy thủy bình tự động không chỉ giúp bạn khai thác tối đa hiệu suất của thiết bị mà còn đảm bảo chất lượng, độ tin cậy của dữ liệu cao độ, vốn là nền tảng của mọi công trình. Bài viết chuyên sâu này sẽ cung cấp một hướng dẫn chi tiết từ A đến Z: từ việc hiểu rõ cơ chế hoạt động, các bước thiết lập máy, cho đến các phương pháp đo cao độ thông dụng nhất và những kỹ thuật nâng cao giúp bạn làm chủ hoàn toàn thiết bị trắc địa quan trọng này.

Máy thủy bình tự động
Table of Contents
Toggle1. Máy thủy bình tự động và cơ chế hoạt động
Để sử dụng hiệu quả, trước hết cần hiểu rõ “trái tim” của máy thủy bình tự động: Bộ bù tự động (Compensator).
Khái niệm Máy thủy bình tự động
Máy thủy bình tự động (Automatic Level) là thiết bị trắc địa dùng để xác định chênh cao và cao độ, trong đó có một cơ chế quang học hoặc cơ điện tự động giữ cho tia ngắm luôn nằm ngang tuyệt đối (phẳng) ngay cả khi máy bị nghiêng nhẹ sau khi cân bằng sơ bộ. Đây là sự khác biệt lớn nhất so với máy thủy bình truyền thống, nơi người dùng phải luôn giữ bọt thủy dài cân bằng trong suốt quá trình đo.
Cơ chế hoạt động của bộ bù tự động (compensator)
Bộ bù tự động thường bao gồm một hệ thống lăng kính hoặc gương treo tự do bằng dây kim loại hoặc nam châm.
- Chức năng: Khi người dùng cân bằng sơ bộ bằng bọt thủy tròn, nếu trục đứng của máy còn nghiêng một góc nhỏ (thường ±10′ đến ±15′), bộ bù sẽ tự động dao động và điều chỉnh đường đi của tia sáng, đảm bảo tia ngắm luôn đi qua trung tâm lưới chữ thập và nằm ngang hoàn hảo.
- Lợi ích: Tăng tốc độ đo đạc (không cần phải cân chỉnh bọt thủy dài), loại bỏ sai số chủ quan của người đo và đảm bảo độ chính xác ngay cả khi có rung động nhẹ trong quá trình làm việc.
Phân khúc và Độ chính xác
Máy thủy bình tự động được phân loại dựa trên độ chính xác (m), thường được đo bằng sai số cho phép trên 1km đo đi – về.
- Thủy bình kỹ thuật (thường ±2.0mm/km): Phổ biến trong xây dựng dân dụng, san lấp mặt bằng. (Ví dụ: Nikon AC-2S, Sokkia C320).
- Thủy bình độ chính xác cao (thường ±1.0mm/km): Dùng cho công trình giao thông, thủy lợi, lắp đặt máy móc công nghiệp.
2. Hướng dẫn đo cao độ bằng máy thủy bình tự động
Bước 1: Lựa chọn vị trí đặt máy thủy bình
Trước tiên, chọn vị trí đặt máy thủy bình tự động tại khu vực cần đo đạc hoặc trên mặt bằng khảo sát.
Vị trí lý tưởng là cao hơn mốc gốc – tức mốc độ cao chuẩn được dùng để truyền cao độ.
Nên đặt máy tại vị trí có nền đất vững chắc, ổn định, không bị sụt lún, đảm bảo ba chân máy được mở đều và gần nằm ngang để thuận tiện cho quá trình cân bằng sau đó.
Bước 2: Cân bằng máy thủy bình
Sau khi lắp máy lên chân, tiến hành cân bằng bọt thủy để đảm bảo đường ngắm nằm ngang.
- Trước hết, đưa bọt thủy tròn về gần đường thẳng tưởng tượng nối hai ốc cân bằng của máy.
- Tiếp theo, vặn đồng thời hai ốc này cùng chiều để di chuyển bọt nước về giữa.
- Cuối cùng, sử dụng ốc cân bằng thứ ba để tinh chỉnh cho đến khi bọt nước nằm chính xác tại tâm vòng tròn.
Khi bọt nước nằm đúng tâm, máy đã đạt trạng thái cân bằng và có thể tiến hành đo đạc.
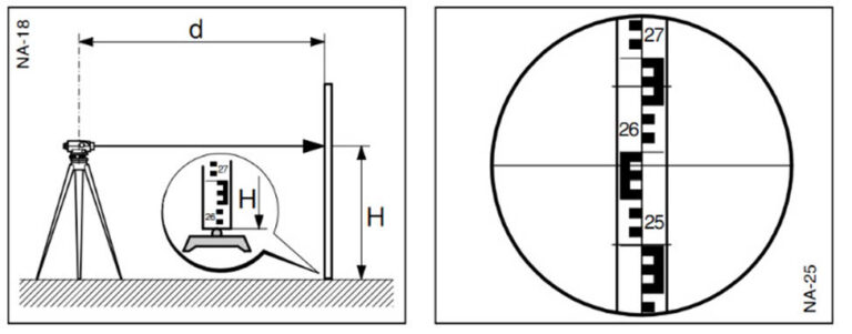
Bước 3: Đọc số mia và tính cao độ

Hình 1
Ngắm ống kính vào mia, đọc giá trị tại chỉ giữa của lưới chữ thập.
Ví dụ: nếu số đọc trên mia là 2.585 m, ta có thể áp dụng công thức:
Cao độ trạm máy = Cao độ mốc + Số đọc mia sau
Cao độ điểm = Cao độ trạm máy − Số đọc mia trước
Khi đã xác định được cao độ trạm máy, có thể tính cao độ các điểm bất kỳ trong khu vực đo dựa trên công thức trên.
3. Đo dẫn tuyến bằng máy thủy bình tự động

Hình 2
Mục tiêu:
Xác định chênh cao (∆H) giữa hai điểm A và B.
Yêu cầu kỹ thuật:
Khi bố trí máy, cần đảm bảo khoảng cách từ máy đến mia sau (d₁) và mia trước (d₂) xấp xỉ nhau, thường trong khoảng 40 – 50m. Điều này giúp hạn chế sai số do độ cong Trái Đất và khúc xạ.
Trình tự đo:
- Đặt máy tại vị trí I₁. Dựng mia tại điểm A (mia sau), ngắm và đọc chỉ giữa (R).
- Dựng mia tại điểm I₂ (mia trước), ngắm đọc chỉ giữa (V).
- Di chuyển máy đến I₂, ngắm lại mia sau tại I₂ và đọc R.
- Tiếp tục dựng mia trước tại I₃, đọc V, và lặp lại quy trình cho đến điểm B.
Công thức tính:
ΔH = ∑R − ∑V
Trong đó:
- R: số đọc mia sau (Back sight)
- V: số đọc mia trước (Fore sight)
4. Nguyên lý đo cao bằng máy thủy bình tự động
Nguyên lý đo cao hình học: Phương pháp đo cao hình học dựa trên tia ngắm nằm ngang và mối quan hệ hình học giữa các điểm để xác định chênh cao. Trong phạm vi nhỏ, có thể coi tia ngắm song song với mặt thủy chuẩn và vuông góc với phương dây dọi.
Dụng cụ sử dụng: máy thủy bình và mia.
Đo cao phía trước
Giả sử có hai điểm A và B cần xác định chênh cao hₐb. Nếu đặt máy tại một trong hai điểm (hình minh họa 3):
- Gọi i là khoảng cách từ tia ngắm ngang đến mặt mốc điểm A (gọi là chiều cao tia ngắm).
- Gọi b là số đọc trên mia đặt tại điểm B.

Hình 3
Khi đó:
hAB = i − b
Như vậy, khi có máy tạo tia ngắm nằm ngang và mia khắc vạch, chỉ cần đặt máy tại một điểm và dựng mia tại điểm kia là có thể xác định được chênh cao giữa hai điểm. Phương pháp này được gọi là đo cao hình học phía trước.
Đo cao từ giữa
Giả sử hai điểm A và B cần xác định chênh cao, ta dựng mia tại cả hai điểm, còn máy thủy bình đặt giữa (hình minh họa 4).

Hình 4
- Gọi a là số đọc trên mia tại điểm A.
- Gọi b là số đọc trên mia tại điểm B.
Khi đó, chênh cao giữa hai điểm A và B được xác định bởi công thức:
hAB = a − b
Như vậy, khi đặt máy giữa hai mia, tia ngắm nằm ngang sẽ cắt mia tại vị trí tương ứng. Việc đọc số tại chỉ giữa của lưới chữ thập cho phép tính nhanh chênh cao giữa hai điểm cần đo.
5. Địa chỉ mua máy trắc địa uy tín, chính hãng

MÁY ĐỊNH VỊ XYZ PHÂN PHỐI CHÍNH HÃNG MÁY TRẮC ĐỊA
CÔNG TY TNHH MÁY ĐỊNH VỊ XYZ Tự hào là đơn vị hàng đầu chuyên cung cấp các loại máy trắc địa chính hãng, phục vụ hiệu quả cho các dự án xây dựng, khảo sát địa hình, giao thông và quản lý địa chính. Chúng tôi mang đến những giải pháp công nghệ tiên tiến nhất, giúp công việc của bạn đạt độ chính xác cao và hiệu suất vượt trội.
Khi chọn mua máy trắc địa tại XYZ, quý khách sẽ được:
- Sản phẩm chính hãng 100%: Chúng tôi cam kết cung cấp thiết bị từ các thương hiệu uy tín, có đầy đủ giấy tờ chứng nhận xuất xứ và chất lượng.
- Hỗ trợ kỹ thuật toàn diện: Đội ngũ chuyên gia của chúng tôi luôn sẵn sàng hướng dẫn sử dụng chi tiết, cài đặt phần mềm và hỗ trợ kỹ thuật tận nơi, giúp bạn làm chủ thiết bị một cách nhanh chóng.
- Dịch vụ hậu mãi chuyên nghiệp: Bên cạnh chính sách bảo hành chính hãng, chúng tôi còn cung cấp dịch vụ bảo trì và hiệu chuẩn định kỳ, đảm bảo máy luôn hoạt động ổn định và chính xác.
- Giao hàng và chi phí tối ưu: Chúng tôi hỗ trợ giao hàng toàn quốc miễn phí, đảm bảo sản phẩm đến tay khách hàng nhanh chóng với mức giá cạnh tranh nhất.
Hãy liên hệ với chúng tôi ngay hôm nay để nhận được tư vấn chuyên sâu và báo giá ưu đãi đặc biệt.
Địa chỉ: 57 Phổ Quang, Phường Tân Sơn Hòa, Thành phố Hồ Chí Minh, Việt Nam
Điện thoại: 0824 99 10 99
Email: maydinhvixyz@gmail.com
Website: maydinhvixyz.com
6. Kết luận
Máy thủy bình tự động là một thiết bị mạnh mẽ, giúp công việc đo cao độ trở nên nhanh chóng và chính xác hơn bao giờ hết. Tuy nhiên, tính “tự động” của máy chỉ giới hạn ở việc cân bằng tia ngắm. Người vận hành vẫn phải là người kiểm soát quy trình, từ việc thiết lập máy vững chắc, tuân thủ nghiêm ngặt nguyên tắc cân bằng khoảng cách, đến việc kiểm tra sai số khép tuyến.
Việc nắm vững cách sử dụng máy thủy bình tự động và áp dụng các phương pháp đo thông dụng một cách kỷ luật sẽ là yếu tố quyết định để đạt được kết quả khảo sát địa hình tối ưu và tin cậy nhất.