Để đảm bảo tính chính xác và hiệu quả, việc tính toán cao độ bằng máy thủy bình là một kỹ năng nền tảng. Dù công nghệ hiện đại đã giúp tự động hóa nhiều quy trình, việc nắm vững công thức và nguyên lý tính toán vẫn là yếu tố then chốt giúp các kỹ sư kiểm soát chất lượng công việc. Bài viết này sẽ đi sâu vào cách tính độ cao máy thủy bình, từ hướng dẫn đo đạc thực tế đến các công thức chi tiết, giúp bạn làm chủ thiết bị này một cách chuyên nghiệp.

Cách tính cao độ máy thủy bình
Table of Contents
Toggle1. Hướng dẫn cách đo cao độ bằng máy thủy bình
Trước khi đi vào cách tính độ cao máy thủy bình, chúng ta cần nắm vững quy trình đo đạc thực tế trên công trường. Một phép đo cao độ cơ bản bao gồm các bước sau:
Bước 1: Chuẩn bị và thiết lập máy thủy bình
- Lắp máy: Gắn máy thủy bình lên chân máy, đặt vững chắc trên mặt đất.
- Cân bằng máy: Sử dụng các ốc cân bằng để đưa bọt thủy tròn vào vị trí trung tâm. Đảm bảo máy đã được cân bằng hoàn hảo để tia ngắm luôn nằm ngang.
- Kiểm tra mia: Đảm bảo mia (thước đo) thẳng đứng tại các điểm cần đo.
Bước 2: Bắt đầu đo đạc

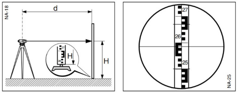
Hình 1
Đọc độ cao mia , bằng chỉ giữa của lưới chỉ chữ thập.
Ví dụ: Hình 1: H = 2.585m
Công thức:
Cao độ trạm máy = Cao độ mốc + Số đọc mia
Cao độ điểm = Cao độ trạm máy – Số đọc mia
2. Hướng dẫn cách tính cao độ máy thủy bình
Sau khi đã có các số đọc trên mia, chúng ta sẽ áp dụng các công thức để tính toán cao độ.
Đọc khoảng cách
Ngoài việc đọc số chỉ giữa để tính cao độ, bạn có thể sử dụng chỉ trên và chỉ dưới của lưới chữ thập trên ống kính để tính khoảng cách từ máy đến mia.
- Công thức: D=(n−m)×100
- D: Khoảng cách từ máy đến mia (mét)
- n: Số đọc chỉ trên
- m: Số đọc chỉ dưới
- Lưu ý: Việc đo khoảng cách giúp kiểm tra độ chính xác của phép đo và xác định khoảng cách giữa các điểm.

Hình 2
Đọc số:
- Chỉ trên: 2.670m
- Chỉ dưới: 2.502m
- Chênh lệch L: 0.168m
- Khoảng cách d: 16.8m
Kết quả: Khoảng cách d = 100 x L
Đọc góc ngang
Máy thủy bình truyền thống không có chức năng đo góc ngang. Tuy nhiên, một số dòng máy thủy chuẩn điện tử hoặc máy toàn đạc điện tử có thể tích hợp chức năng này. Việc đọc góc ngang thường được sử dụng trong các công việc định vị, không phải để tính cao độ.
Cách đọc: Nhìn vào bàn độ ngang của máy và đọc giá trị góc tại vị trí chỉ thị.

Hình 3
*Yêu cầu: Đo góc giữa 2 điểm A và B (Xem hình 3)
Tiến hành chọn điểm đặt máy thuận lợi và cân bằng máy giống như bước 1 và bước 2 (phần đo cao độ).
Xoay bàn độ ngang về 0 độ (Hình 3).
Xoay máy đo ngắm về đúng tâm mia đo đặt tại B.
Đọc góc ngang từ bàn độ ngang. Ví dụ trên hình 3 là 60 độ .
3. Đo dẫn tuyến thủy bình
Đo dẫn tuyến thủy bình là phương pháp đo cao độ trên một tuyến dài hoặc phức tạp, không thể thực hiện bằng một lần đặt máy. Phương pháp này bao gồm nhiều lần đặt máy nối tiếp nhau để truyền cao độ từ điểm này sang điểm khác.
Quy trình:
- Đặt máy ở giữa: Đặt máy thủy bình tại một vị trí ở giữa hai điểm cần đo (A và B).
- Đo đọc mia tại điểm sau: Dựng mia tại điểm A (điểm đã biết cao độ) và đọc số. Giá trị này gọi là số đọc mia sau.
- Đo đọc mia tại điểm trước: Dựng mia tại điểm B (điểm cần tính cao độ) và đọc số. Giá trị này gọi là số đọc mia trước.
- Tính toán chênh cao: Chênh cao giữa hai điểm A và B là: ΔHAB= Số đọc mia sau − Số đọc mia trước
- Tính cao độ điểm B: HB = HA + ΔHAB
- Di chuyển máy: Di chuyển máy đến một vị trí mới, đặt giữa điểm B và điểm C, và tiếp tục quy trình cho đến khi hoàn thành tuyến đo.

Hình 4
*Yêu cầu: Xác định chênh cao ∆H giữa 2 điểm A và B
Khi đo chọn khoảng cách từ máy thủy chuẩn tới mia sau và mia trước tương đối bằng nhau (d1 ~ d2, từ 40-50m). Trình tự đo tương tự như hình 4.
- Đặt máy tại điểm I1.
- Dựng mia thủy chuẩn thẳng đứng tại điểm A (mia sau).
- Ngắm mia sau tại điểm A, đọc số đọc chỉ giữa (R).
- Đặt mia đo tại điểm I2, máy ngắm mia (trước) đọc số chỉ giữa (V).
- Đặt máy tại I2, ngắm máy đo về mia (sau) tại I2, đọc chỉ giữa (R).
- Đọc mia trước tại điểm I3.
- Tiếp tục tương tự, cho đến khi đọc độ cao tại điểm B.
Kết quả: ∆H = Tổng số đọc mia sau – Tổng số đọc mia trước
4. Nguyên lý đo cao bằng máy thủy bình
Hiểu rõ nguyên lý hoạt động là chìa khóa để sử dụng máy thủy bình một cách hiệu quả và kiểm soát sai số.
Nguyên lý đo cao phía trước
- Nguyên lý: Đặt máy thủy bình tại điểm gốc (điểm đã biết cao độ). Tia ngắm của máy sẽ nằm ngang. Bạn đo đọc mia tại điểm cần đo (điểm phía trước).
- Công thức: Hđo = Hgốc+ i − s
- Hđo: Cao độ điểm cần đo
- Hgốc: Cao độ điểm gốc
- i: Chiều cao máy (từ điểm đặt máy đến trục quang học của máy)
- s: Số đọc trên mia tại điểm cần đo
- Ưu điểm: Đơn giản, dễ thực hiện, phù hợp với các khu vực nhỏ.
- Nhược điểm: Dễ mắc sai số do chiều cao máy và độ cong của Trái Đất khi đo ở khoảng cách xa.

Hình 5
Giả sử có 2 điểm A, B (Hình 5) cần xác định độ chênh cao hAB giữa 2 điểm đó. Nếu tại 1 trong 2 điểm đặt dụng cụ có tia ngắm nằm ngang, tại điểm kia dựng mia (Theo hình vẽ).
Nếu gọi khoảng cách từ tia ngắm nằm ngang theo phương đường dây dọi đến điểm A là i, i gọi là chiều cao tia ngắm ngang.
Khoảng cách từ tia ngắm ngang cắt mia dựng tại B đến mặt mốc điểm B gọi là số đọc trên mia, có giá trị gọi là b.
Chênh cao giữa 2 điểm A và B gọi là hAB thì: hAB = i – b
Như vậy qua nguyên lý trên ta thấy, nếu ta có dụng cụ đo có tia ngắm nằm ngang, có mia khắc vạch thì ta sẽ xác định được chênh cao giữa 2 điểm, bằng cách đặt máy tại 1 điểm, còn mia dựng tại điểm kia. Quá trình tiến hành xác định như vậy được gọi là đo cao hình học phía trước.
Nguyên lý đo cao từ giữa
- Nguyên lý: Đây là phương pháp phổ biến và chính xác nhất. Máy thủy bình được đặt ở giữa hai điểm cần đo. Tia ngắm của máy song song với mặt đất.
- Công thức: Hđo = Hgốc + (Số đọc mia sau − Số đọc mia trước)
- Ưu điểm:
- Giảm thiểu sai số: Phương pháp này tự động loại bỏ sai số do độ cong của Trái Đất và sai số chuẩn máy.
- Độ chính xác cao: Đây là phương pháp được khuyến nghị sử dụng trong hầu hết các công việc đo đạc.
- Lưu ý: Cần đảm bảo khoảng cách từ máy đến mia sau và mia trước tương đối bằng nhau để tối ưu hóa độ chính xác.

Hình 6
Giả sử cũng có 2 điểm A và B cần xác định độ chênh cao giữa 2 điểm đó, người ta dựng mia tại 2 điểm A và B, còn dụng cụ đo có tia ngắm nằm ngang đặt giữa 2 điểm đó (Hình 6).
Từ (Hình 6) nếu gọi:
AM = a là khoảng cách tính từ A đến tia ngắm nằm ngang cắt mia dựng tại A và gọi là số đọc trên mia dựng tại A.
BN = b là khoảng cách từ B đến tia ngắm nằm ngang cắt mia dựng tại B và gọi là số đọc trên mia dựng tại B.
hAB là chênh cao giữa A và B, từ đó có: hAB = a – b
Qua đó thấy rằng khi cần xác định chênh cao giữa 2 điểm, nếu tại 2 điểm đó dựng mia có khắc vạch, còn ở giữa 2 điểm đó đặt dụng cụ đo có tia ngắm nằm ngang. Dựa vào tia ngắm nằm ngang cắt mia tại đâu ta đọc số tại đó.
5. Địa chỉ mua máy trắc địa uy tín, chính hãng

MÁY ĐỊNH VỊ XYZ PHÂN PHỐI CHÍNH HÃNG MÁY TRẮC ĐỊA
CÔNG TY TNHH MÁY ĐỊNH VỊ XYZ Tự hào là đơn vị hàng đầu chuyên cung cấp các loại máy trắc địa chính hãng, phục vụ hiệu quả cho các dự án xây dựng, khảo sát địa hình, giao thông và quản lý địa chính. Chúng tôi mang đến những giải pháp công nghệ tiên tiến nhất, giúp công việc của bạn đạt độ chính xác cao và hiệu suất vượt trội.
Khi chọn mua máy trắc địa tại XYZ, quý khách sẽ được:
- Sản phẩm chính hãng 100%: Chúng tôi cam kết cung cấp thiết bị từ các thương hiệu uy tín, có đầy đủ giấy tờ chứng nhận xuất xứ và chất lượng.
- Hỗ trợ kỹ thuật toàn diện: Đội ngũ chuyên gia của chúng tôi luôn sẵn sàng hướng dẫn sử dụng chi tiết, cài đặt phần mềm và hỗ trợ kỹ thuật tận nơi, giúp bạn làm chủ thiết bị một cách nhanh chóng.
- Dịch vụ hậu mãi chuyên nghiệp: Bên cạnh chính sách bảo hành chính hãng, chúng tôi còn cung cấp dịch vụ bảo trì và hiệu chuẩn định kỳ, đảm bảo máy luôn hoạt động ổn định và chính xác.
- Giao hàng và chi phí tối ưu: Chúng tôi hỗ trợ giao hàng toàn quốc miễn phí, đảm bảo sản phẩm đến tay khách hàng nhanh chóng với mức giá cạnh tranh nhất.
Hãy liên hệ với chúng tôi ngay hôm nay để nhận được tư vấn chuyên sâu và báo giá ưu đãi đặc biệt.
Địa chỉ: 57 Phổ Quang, Phường Tân Sơn Hòa, Thành phố Hồ Chí Minh, Việt Nam
Điện thoại: 0824 99 10 99
Email: maydinhvixyz@gmail.com
Website: maydinhvixyz.com
6. Kết luận
Nắm vững cách tính độ cao máy thủy bình không chỉ là một kỹ năng mà còn là nền tảng của sự chuyên nghiệp trong ngành trắc địa. Từ các công thức cơ bản cho đến việc áp dụng các nguyên lý đo cao từ giữa, việc làm chủ thiết bị này sẽ giúp bạn thực hiện công việc một cách chính xác, hiệu quả và đáng tin cậy. Dù công nghệ có phát triển đến đâu, những kiến thức nền tảng này vẫn luôn giữ vai trò quan trọng, giúp các kỹ sư kiểm soát mọi khía cạnh của công việc đo đạc.