
Cách sử dụng máy thủy bình
Table of Contents
Toggle1. Các bước chuẩn bị trước khi sử dụng máy thủy bình
Một sự chuẩn bị kỹ lưỡng là nền tảng để có được kết quả đo đạc chính xác.
Kiểm tra và chuẩn bị thiết bị
- Máy thủy bình: Kiểm tra xem ống kính có sạch không, các núm vặn điều quang và vi động có hoạt động trơn tru không.
- Chân máy (tripod): Đảm bảo chân máy vững chắc, các khớp nối không bị lỏng lẻo.
- Mia đo (thước đo): Mia phải còn nguyên vẹn, các vạch chia rõ ràng, không bị cong vênh. Mia phải có bọt thủy đi kèm để đảm bảo luôn được dựng thẳng đứng.
- Sổ tay và bút chì: Chuẩn bị sổ tay ghi chép (sổ đo) để ghi lại các số đọc và tính toán tại hiện trường.
- Kiểm tra pin / hộp đựng: Đảm bảo máy thủy bình điện tử (nếu dùng) có đủ pin hoặc hộp đựng máy quang học luôn khô ráo.
Lựa chọn vị trí đặt máy
- Vị trí ổn định: Chọn nơi có nền đất cứng, không bị rung lắc. Tránh đặt máy trên nền đất quá mềm hoặc gần các nguồn rung động (máy móc đang hoạt động).
- Tầm nhìn: Vị trí đặt máy phải có tầm nhìn thông thoáng đến tất cả các điểm cần đo.
- Khoảng cách cân bằng: Trong phương pháp đo dẫn tuyến, nên đặt máy ở vị trí tương đối giữa hai điểm mia trước và mia sau để tự động loại trừ sai số chuẩn máy và sai số do độ cong của Trái Đất.
2. Cách sử dụng máy thủy bình hiệu quả
Bước 1: Lựa chọn vị trí đặt máy thủy bình
- Trước tiên, cần chọn vị trí đặt máy phù hợp trên khu vực cần đo đạc.
- Vị trí lý tưởng là cao hơn mốc gốc – tức mốc độ cao chuẩn được dùng để truyền cao độ.
- Nên ưu tiên nền đất ổn định, chắc chắn, tránh các vị trí dễ sụt lún.
- Khi đặt chân máy, điều chỉnh sao cho mặt phẳng của chân máy gần ngang bằng với mặt đất, giúp việc cân bằng sau đó thuận lợi và chính xác hơn.
Bước 2: Cân bằng máy thủy bình
- Sau khi gắn máy lên chân, tiến hành cân bằng máy trước khi đo.
- Xác định vị trí của bọt thủy tròn nằm trên đường tưởng tượng đi qua hai ốc cân bằng.
- Xoay hai ốc cân bằng này cùng chiều để đưa bọt nước về gần vị trí trung tâm.
- Tiếp tục điều chỉnh bằng ốc cân bằng thứ ba cho đến khi bọt nước nằm chính giữa vòng tròn.
- Khi bọt nước đã nằm đúng tâm, máy được xem là đã cân bằng chính xác, sẵn sàng cho quá trình đo đạc.
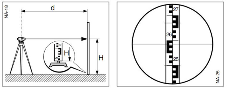
Bước 3: Tiến hành đo đạc
Hướng ống kính máy thủy bình về mia thủy chuẩn và đọc số tại chỉ giữa của lưới chữ thập trong ống ngắm.
Ví dụ:

Hướng ống kính máy thủy bình về mia thủy chuẩn và đọc số
Nếu số đọc trên mia là 2.585 m, ta có thể tính được cao độ như sau:
Công thức:
- Cao độ trạm máy (Hₜ) = Cao độ mốc chuẩn (H₀) + Số đọc mia sau
- Cao độ điểm cần đo (Hₚ) = Cao độ trạm máy (Hₜ) – Số đọc mia trước
Minh họa:
- Giả sử mốc chuẩn có cao độ 100.000 m, và số đọc mia sau là 2.585 m, thì:
→ Cao độ trạm máy = 100.000 + 2.585 = 102.585 m - Nếu số đọc mia trước tại điểm cần đo là 1.235 m, thì:
→ Cao độ điểm = 102.585 – 1.235 = 101.350 m
3. Các lỗi thường gặp và mẹo khắc phục để đo chính xác
Việc nắm rõ các sai số và mẹo vận hành giúp nâng cao đáng kể độ chính xác của kết quả đo.

Các lỗi thường gặp và mẹo khắc phục để đo chính xác
Sai số do người đo và cách khắc phục
- Sai số đọc mia: Đọc nhầm hàng, nhầm số. Mẹo: Luôn đọc và ghi chép ba số (chỉ trên, chỉ giữa, chỉ dưới) để kiểm tra bằng công thức đọc khoảng cách: Khoảng caˊch=(Chỉ treˆn−Chỉ dưới)×100.
- Sai số do mia không thẳng đứng: Mẹo: Kiểm tra và sử dụng bọt thủy tròn đi kèm trên mia. Người cầm mia phải đứng vững, không nghiêng sào.
- Sai số do chưa cân bằng chính xác: Mẹo: Dành thời gian tối đa cho bước cân bằng. Nếu là máy tự động, đảm bảo bọt thủy tròn nằm hoàn toàn trong vòng tròn giới hạn.
Sai số do thiết bị và môi trường
- Sai số chuẩn máy: Tia ngắm không hoàn toàn nằm ngang (sai số trục). Mẹo: Luôn đặt máy ở giữa hai điểm đo và giữ khoảng cách mia trước/sau bằng nhau.
- Sai số do khúc xạ không khí: Hơi nước bốc lên từ mặt đất nóng làm cong tia ngắm. Mẹo: Tránh đo vào giữa trưa. Khi đo, cố gắng giữ tia ngắm cao hơn mặt đất ít nhất 0.5m.
- Ảnh hưởng của gió: Gió lớn làm máy và mia rung lắc. Mẹo: Sử dụng chắn gió hoặc đợi đến khi gió lặng.
Mẹo tối ưu hóa hiệu suất
- Quy tắc đo khép kín: Sau khi đo xong một tuyến, luôn đo khép tuyến về điểm gốc (hoặc điểm mốc khác đã biết) để kiểm tra và phân phối sai số.
- Sử dụng sổ tay điện tử/App: Dùng các ứng dụng trên điện thoại hoặc sổ tay điện tử để ghi chép và tính toán tự động, giảm thiểu sai sót do nhập liệu thủ công.
- Bảo dưỡng định kỳ: Vệ sinh ống kính, và mang máy đi kiểm định, hiệu chỉnh định kỳ (thường 6 tháng/lần) tại các trung tâm kỹ thuật uy tín.
4. Địa chỉ mua máy trắc địa uy tín, chính hãng

MÁY ĐỊNH VỊ XYZ PHÂN PHỐI CHÍNH HÃNG MÁY TRẮC ĐỊA
CÔNG TY TNHH MÁY ĐỊNH VỊ XYZ Tự hào là đơn vị hàng đầu chuyên cung cấp các loại máy trắc địa chính hãng, phục vụ hiệu quả cho các dự án xây dựng, khảo sát địa hình, giao thông và quản lý địa chính. Chúng tôi mang đến những giải pháp công nghệ tiên tiến nhất, giúp công việc của bạn đạt độ chính xác cao và hiệu suất vượt trội.
Khi chọn mua máy trắc địa tại XYZ, quý khách sẽ được:
- Sản phẩm chính hãng 100%: Chúng tôi cam kết cung cấp thiết bị từ các thương hiệu uy tín, có đầy đủ giấy tờ chứng nhận xuất xứ và chất lượng.
- Hỗ trợ kỹ thuật toàn diện: Đội ngũ chuyên gia của chúng tôi luôn sẵn sàng hướng dẫn sử dụng chi tiết, cài đặt phần mềm và hỗ trợ kỹ thuật tận nơi, giúp bạn làm chủ thiết bị một cách nhanh chóng.
- Dịch vụ hậu mãi chuyên nghiệp: Bên cạnh chính sách bảo hành chính hãng, chúng tôi còn cung cấp dịch vụ bảo trì và hiệu chuẩn định kỳ, đảm bảo máy luôn hoạt động ổn định và chính xác.
- Giao hàng và chi phí tối ưu: Chúng tôi hỗ trợ giao hàng toàn quốc miễn phí, đảm bảo sản phẩm đến tay khách hàng nhanh chóng với mức giá cạnh tranh nhất.
Hãy liên hệ với chúng tôi ngay hôm nay để nhận được tư vấn chuyên sâu và báo giá ưu đãi đặc biệt.
Địa chỉ: 57 Phổ Quang, Phường Tân Sơn Hòa, Thành phố Hồ Chí Minh, Việt Nam
Điện thoại: 0824 99 10 99
Email: maydinhvixyz@gmail.com
Website: maydinhvixyz.com
5. Kết luận
Việc nắm vững cách sử dụng máy thủy bình là một kỹ năng cơ bản nhưng cực kỳ quan trọng trong ngành xây dựng và trắc địa. Bằng cách tuân thủ nghiêm ngặt các bước thiết lập, áp dụng chính xác công thức tính cao độ và lưu ý các mẹo kỹ thuật để loại trừ sai số, bạn sẽ đảm bảo được độ chính xác tuyệt đối cho mọi công trình. Máy thủy bình là công cụ đáng tin cậy, và người vận hành có kỹ năng tốt chính là chìa khóa để khai thác tối đa hiệu quả của nó.